SS-V:2010 片持ち板の面内振動
テスト番号VM01 片持ち板の面内振動の固有周波数を求めます。
定義

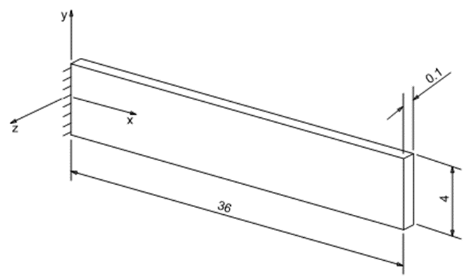
図 1.
プレートの面外振動を排除するために、そのサーフェスはz方向に拘束されます(Uz = 0)。
単位はIPSです。
- 特性
- 値
- 弾性係数
- 3e+7 psi
- ポアソン比
- 0.3
- 質量密度
- 7.28e-4lb - s2/in4
結果
| 理論値 | SimSolid | %差異 | |
|---|---|---|---|
| 固有周波数 [Hz] | 101.33 | 100.30 | -1.02% |
テスト番号VM01 片持ち板の面内振動の固有周波数を求めます。

プレートの面外振動を排除するために、そのサーフェスはz方向に拘束されます(Uz = 0)。
単位はIPSです。
| 理論値 | SimSolid | %差異 | |
|---|---|---|---|
| 固有周波数 [Hz] | 101.33 | 100.30 | -1.02% |