SS-V: 2010 In-plane Vibration of a Cantilever Plate
Test No. VM01 Find the fundamental frequency for in-plane vibration of a cantilevered plate.
Definition

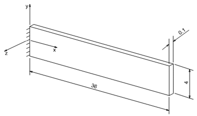
Figure 1.
To exclude out-of-plane vibration of the plate, its surface is constrained in the z-direction (Uz = 0).
The units are IPS.
- Properties
- Value
- Modulus of Elasticity
- 3e+7 psi
- Poisson's Ratio
- 0.3
- Mass density
- 7.28e-4lb - s2/in4
Results
| Theory | SimSolid | % Difference | |
|---|---|---|---|
| Fundamental Frequency [Hz] | 101.33 | 100.30 | -1.02% |